Componenti e comandi

mceclip2.pngmceclip4.png

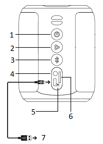
  1. power_settings_new: Pulsante per accendere e spegnere il dispositivo.
  2. play_arrow: Premi per iniziare la riproduzione
  3. bluetooth : Premi per accendere o spegnere l'anello luminoso superiore. Tieni premuto per disabbinare il dispositivo BT collegato.
  4. AUX: Usa il cavo audio 3.5 standard per collegare le sorgenti audio esterne.
  5. Indicatore LED di carica: con il cavo collegato; Accensione-Ricarica e Spegnimento-Carica
  6. Slot Micro SD
  7. >DC 5V: collega il cavo USB di tipo C per caricare il dispositivo.
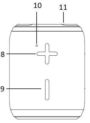
  8. add: Premi per aumentare il volume. Premi a lungo per il brano successivo.
  9. remove: Premi per ridurre il volume. Premere a lungo per il brano precedente.
  10. mic: Microfono interno, attivato quando sei in modalità vivavoce durante una telefonata.
  11. Anello luminoso: quando non ci sono dispositivi collegati in BT, lampeggia in bianco. Quando un dispositivo è collegato o viene riprodotta musica SD o AUX, cambia colore e intensità in base alla musica. Puoi disattivarlo premendo il pulsante BT

 

mceclip0.png

mceclip1.png

 

Questo articolo ti è stato utile?

Utenti che ritengono sia utile: 12 su 15

Altre domande? Invia una richiesta