Localizzazione dei controlli

1. Cuffia

2. Microfono

3. Alloggiamento cavo a spirale nel microtelefono.

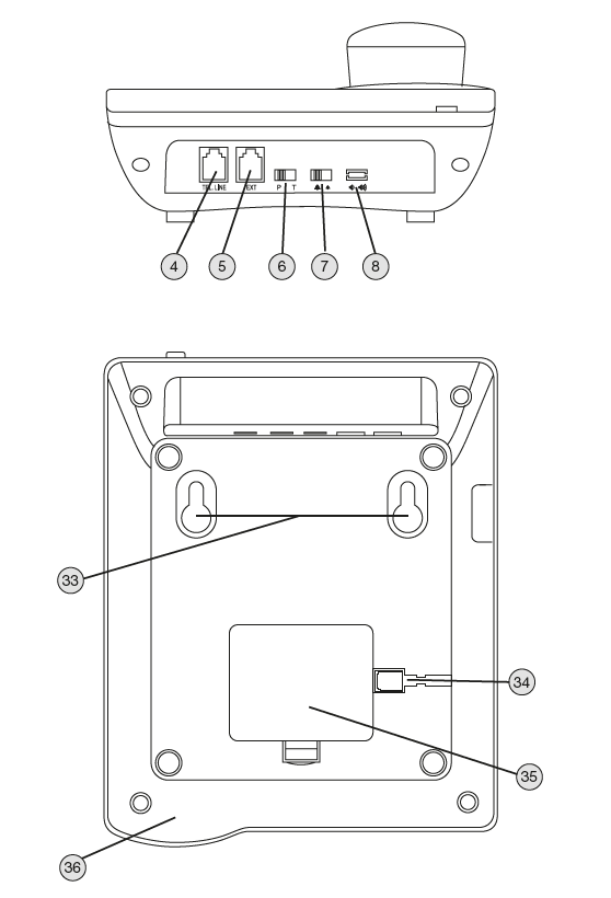
4. Alloggiamento per cavo linea principale, TEL. LINEA

5. Alloggiamento per cavo linea estensione o terminale aggiuntivo, EST

6. Tasti di selezione del tipo di chiamata (multifrequenza o decimale), M / D

7. Volume suoneria,  

8. Volume vivavoce, 

9. Linguetta di fissaggio del microtelefono  

10. Gancio

11. Pezzo per montaggio a parete

12. Altoparlante

13. Cartoncino per numeri telefonici

14. Schermo

15. Tasto MENU. Menu.

16. Tasto VIP/M. VIP e pausa.

17. Tasto ▲. Elenco delle chiamate ricevute. Navigazione, su, aumentare.

18. Tasto . Elenco delle chiamate effettuate.

19. Tasto . Richiamare.

20. Tasto ▼. Elenco delle chiamate perse. Navigazione, giù, diminuire.

21. Tasti M1, M2, M3 e M4. Memorie dirette.

22. Tastiera numerica.

23. Tasto  . Cancella / Esci.

24. Tasto . Silenziatore del microfono.

25. Tasto . Memorizza e Menu.

26. Tasto M. Memoria.

27. Indicatore luminoso in uso

28. Indicatore luminoso di squillo

29. Tasto . Seleziona la melodia.

30. Tasto R. Richiama registratore.

31. Tasto . Richiamare.

32. Tasto . Vivavoce.

33. Alloggi per viti per montaggio a parete.

34. Alloggiamento cavo a spirale nella base, .

35. Compartimento batterie.

36. Microfono del vivavoce.

Questo articolo ti è stato utile?

Utenti che ritengono sia utile: 6 su 8

Altre domande? Invia una richiesta