Composants et commandes

mceclip2.pngmceclip4.png

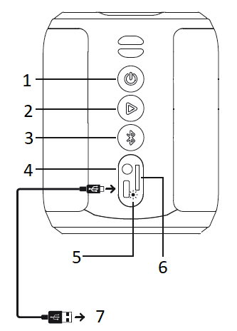
  1. power_settings_new: Bouton marche/arrêt du dispositif.
  2. play_arrow: Appuyez pour démarrer ou mettre en pause la lecture
  3. bluetooth : Appuyez pour allumer ou éteindre l'anneau lumineux supérieur. Appuyez et maintenez la touche enfoncée pour désassocier le périphérique BT connecté.
  4. AUX: Utilisez le câble audio 3,5 standard pour connecter des sources audio externes.
  5. Indicateur LED de charge : avec le câble connecté ; allumé - en cous de chargement et éteint - chargé.
  6. Emplacement Micro SD
  7. DC 5V : connectez le câble USB Type-C pour charger l'appareil.
  8. add: Appuyez sur cette touche pour augmenter le volume. Maintenez la touche enfoncée pour passer à la chanson suivante.
  9. remove: Appuyez sur cette touche pour réduire le volume. Maintenez la touche enfoncée pour passer à la chanson précédente.
  10. mic: Microphone interne,s’active lorsque vous êtes en mode mains libres pendant un appel téléphonique.
  11. Anneau lumineux : lorsqu'aucun appareil n'est connecté en BT, il clignote en blanc. Lorsqu'un appareil est connecté ou qu'il lit de la musique SD ou AUX, il change de couleur et d'intensité en fonction de la musique. Vous pouvez le désactiver en appuyant sur le bouton BT

 

mceclip0.png

mceclip1.png

 

Cet article vous a-t-il été utile ?

Utilisateurs qui ont trouvé cela utile : 12 sur 15

Vous avez d’autres questions ? Envoyer une demande