Modes et connexions

MODE BLUETOOTH

QUELS SONT LES PROFILS ET COMPATIBILITÉS DE TON SPC ORBITAL GLOW ?

  Ton SPC ORBITAL GLOW prend en charge la version Bluetooth 5.3 avec les profils suivants :

  - Profil de distribution audio avancée (A2DP). Permet la transmission de signaux audio stéréo.

  - Profils de contrôle de commandes (AVRCP, AVCTP, AVDTP).

  - Profil mains libres (HFP), pour les fonctions de téléphonie, fonction mains libres avec l'enceinte.

  - TWS, permet l'utilisation de deux enceintes reproduisant le même signal audio.

PREMIER APPARIEMENT

  Grâce à un lecteur de musique avec une connexion Bluetooth (Smartphone, Tablette, MP3, MP4…), tu pourras écouter ta musique sur ton SPC ORBITAL GLOW.

  Pour effectuer une nouvelle connexion via Bluetooth, tu devras allumer l'enceinte et activer la connexion Bluetooth sur ton lecteur audio. L'indicateur LED de l'enceinte clignotera en bleu, signalant qu'il est prêt pour l'appariement. Tu devras rechercher ton SPC ORBITAL GLOW dans la liste des appareils Bluetooth détectés dans le menu Bluetooth de ton lecteur audio. Après avoir sélectionné ton SPC ORBITAL GLOW, l'enceinte émettra un son de connexion établie, et la LED indicatrice cessera de clignoter pour rester fixe.

   mceclip1.png

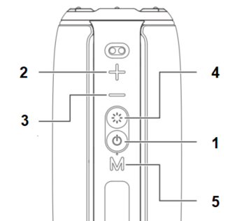
QUELLES COMMANDES UTILISER EN MODE BLUETOOTH ?

  Les commandes de lecture en mode Bluetooth sont les suivantes.

  2 : Bouton « + ». Appuie pour augmenter le volume, et maintiens-le enfoncé pour la chanson suivante.

  3 : Bouton « - ». Appuie pour diminuer le volume, et maintiens-le enfoncé pour la chanson précédente.

  1 : Bouton Play/Pause. Met la lecture en pause. Appuie de nouveau pour reprendre la lecture.

FONCTION MAINS LIBRES

  Si tu connectes un smartphone à ton SPC ORBITAL GLOW via Bluetooth, tu pourras répondre/rejeter des appels grâce au microphone intégré.

  Appuie une fois sur le bouton M (Mode) pour répondre à l'appel. Appuie de nouveau pour raccrocher.

  Maintiens le bouton M (Mode) enfoncé pendant deux secondes pour rejeter l'appel entrant.

  Appuie deux fois sur le bouton M (Mode) pour rappeler le dernier numéro composé.

MODE AUXILIAIRE :

  En utilisant un câble Jack de 3,5 mm, tu pourras connecter n'importe quel lecteur audio disposant de cette sortie audio. En reliant ton lecteur et ton SPC ORBITAL GLOW avec le câble Jack de 3,5 mm, tu pourras écouter la musique stockée sur ton appareil.

  Pour basculer entre les modes Bluetooth, SD, AUX et USB, tu dois appuyer brièvement sur le bouton 5 (M, Mode).

  Tu peux utiliser les mêmes commandes décrites pour le mode Bluetooth pour contrôler le volume, lire, arrêter, avancer ou reculer une chanson.

  Certaines de ces actions pourraient ne pas fonctionner en fonction de l'APP ou de l'appareil auquel le câble est connecté.

MODE DE STOCKAGE USB :

  Si tu insères un périphérique de stockage USB (clé USB, disque dur externe...) dans ton SPC ORBITAL GLOW, tu pourras lire tes chansons au format MP3, WAV ou OGG.

  Tu peux utiliser les mêmes commandes décrites pour le mode Bluetooth pour contrôler le volume, lire, arrêter, avancer ou reculer une chanson.

MODE CARTE MICRO SD :

  Si tu insères une carte micro SD dans ton SPC ORBITAL GLOW, tu pourras lire tes chansons au format MP3, WAV ou OGG.

  Tu peux utiliser les mêmes commandes décrites pour le mode Bluetooth pour contrôler le volume, lire, arrêter, avancer ou reculer une chanson.

CONNEXION TWS :

  Ton SPC ORBITAL GLOW prend en charge la connexion TWS (True Wireless), ce qui permet de lier deux enceintes ensemble pour diffuser la même musique. Grâce à cette fonction, tu peux par exemple fournir un niveau de musique optimal dans une zone plus grande ou plus fréquentée.

Les étapes à suivre pour activer ce mode TWS sont :

  1.     Les enceintes doivent être déconnectées de tout autre appareil avant l'appariement TWS.  
  2. Allume les 2 SPC ORBITAL GLOW et maintiens-les à proximité.
  3.    

          Appuie deux fois simultanément sur le bouton M (Mode) des deux enceintes. Après un appariement réussi, tu entendras une notification sonore.    

       

     

  4.     Maintenant, les enceintes se connecteront automatiquement entre elles chaque fois que tu les allumeras.  
  5.     Active le Bluetooth sur ton appareil et sélectionne SPC ORBITAL GLOW dans la liste pour l'apparier à l'enceinte.  
  6.     Après un appariement réussi, les deux enceintes joueront la même chanson.  
  7.     Les boutons de commande peuvent être utilisés sur l'une ou l'autre des enceintes. Le réglage du volume sur l'une d'elles l'ajustera simultanément sur les deux.  

  Pour désapparier le mode TWS, appuie également deux fois sur le bouton M (Mode), les enceintes se déconnecteront l'une de l'autre.

Cet article vous a-t-il été utile ?

Utilisateurs qui ont trouvé cela utile : 0 sur 0

Vous avez d’autres questions ? Envoyer une demande