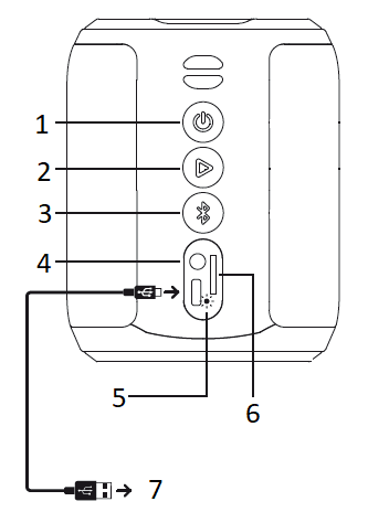
Componentes y controles

mceclip2.pngmceclip4.png

  1. power_settings_new: Botón de encendido y apagado del dispositivo.
  2. play_arrow: Pulsa para iniciar o pausar la reproducción
  3. bluetooth : Pulsa para encender o apagar el anillo luminoso superior. Mantén pulsado para desemparejar el dispositivo BT conectado.
  4. AUX: Usa el cable de audio 3,5 estándar para conectar fuentes de audio externas.
  5. Indicador LED de carga: Con el cable conectado; Encendido-Cargando y Apagado-Cargado
  6. Ranura Micro SD
  7. DC 5V: Conecta el cable USB tipo C para cargar el equipo.
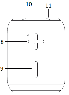
  8. add: Pulsa para aumentar volumen. Mantén pulsado para siguiente canción.
  9. remove: Pulsa para reducir volumen. Mantén pulsado para anterior canción.
  10. mic: Micrófono interno, se activa cuando estés  en el modo manos libres, durante una llamada de teléfono.
  11. Anillo luminoso: Cuando no hay dispositivo conectado en BT, parpadea en blanco. Cuando hay conectado un dispositivo o está reproduciendo música SD o AUX, cambia de color e intensidad en base a la música. Puedes apagarla pulsando el botón BT

 

mceclip0.png

mceclip1.png

 

¿Fue útil este artículo?

Usuarios a los que les pareció útil: 12 de 15

¿Tiene más preguntas? Enviar una solicitud