Localización de controles

1. Auricular.

2. Micrófono.

3. Alojamiento cable rizado en el microteléfono.

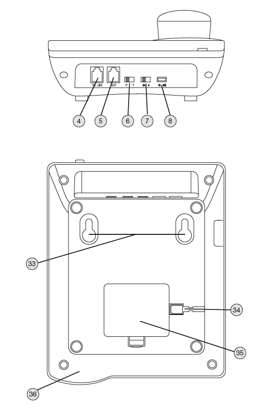
4. Alojamiento para cable de línea principal, TEL. LINE.

5. Alojamiento para cable de línea de la extensión o terminal supletorio, EXT.

6. Marcación Tonos (Multifrecuencia) o Pulsos (Decádico), P / T.

7. Volumen de timbre,

8. Volumen manos libres,

9. Pestaña de sujeción del microteléfono.  

10. Gancho.

11. Pieza para montaje mural.

12. Altavoz.

13. Cartón para número telefónico.

14. Pantalla.

15. Tecla MENU. Menú.

16. Tecla VIP/P. VIP y pausa.

17. Tecla ▲. Lista de llamadas contestadas. Navegación, subir, aumentar.

18. Tecla . Lista de llamadas realizadas.

19. Tecla . Devolver llamada.

20. Tecla ▼. Lista de llamadas perdidas. Navegación, bajar, disminuir.

21. Teclas M1, M2, M3 y M4. Memorias directas.

22. Teclado numérico.

23. Tecla  . Borrar / Salir.

24. Tecla . Silenciador de micrófono.

25. Tecla . Almacenar y Menú.

26. Tecla M. Memoria.

27. Indicador luminoso de "en uso".

28. Indicador luminoso de timbre.

29. Tecla . Seleccionar la melodía.

30. Tecla R. Rellamada a registrador.

31. Tecla . Rellamada.

32. Tecla . Manos libres.

33. Alojamientos para tornillos para montaje mural.

34. Alojamiento cable rizado en la base, .

35. Compartimiento de pilas.

36. Micrófono del manos libres.

¿Fue útil este artículo?

Usuarios a los que les pareció útil: 6 de 8

¿Tiene más preguntas? Enviar una solicitud