Modes and connections

BLUETOOTH MODE

WHAT PROFILES AND COMPATIBILITIES DOES YOUR SPC ORBITAL GLOW HAVE?

  Your SPC ORBITAL GLOW supports Bluetooth version 5.3 with the following profiles:

  - Advanced Audio Distribution Profile (A2DP). Allows the transmission of stereo audio signals.

  - Command and control profiles (AVRCP, AVCTP, AVDTP).

  - Hands-Free Profile (HFP), for telephony functions, hands-free function with the speaker.

  - TWS, allows the use of two speakers playing the same audio signal.

FIRST PAIRING

  Through a music player with a Bluetooth connection (Smartphone, Tablet, MP3, MP4…) you can listen to your music on your SPC ORBITAL GLOW.

  To make a new connection via Bluetooth, you will need to turn on the speaker and activate the Bluetooth connection on your audio player. The speaker's LED indicator will flash blue, indicating it is ready for pairing. You will need to search for your SPC ORBITAL GLOW in the list of detected Bluetooth devices in your audio player's Bluetooth menu. After selecting your SPC ORBITAL GLOW, the speaker will emit a sound indicating an established connection, and the indicator LED will stop flashing, becoming solid.

   mceclip1.png

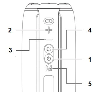
WHAT CONTROLS DO I USE IN BLUETOOTH MODE?

  The playback controls in Bluetooth mode are as follows.

  2: "+" button. Press to increase the volume, and press and hold for the next song.

  3: "-" button. Press to decrease the volume, and press and hold for the previous song.

  1: Play/Pause button. Pauses playback. Press it again to resume playback.

HANDS-FREE FUNCTION

  If you connect a Smartphone to your SPC ORBITAL GLOW via Bluetooth, you can answer/reject calls thanks to the built-in microphone.

  Press the M (Mode) button once to answer the call. Press it again to hang up.

  Press and hold the M (Mode) button for two seconds to reject the incoming call.

  Press the M (Mode) button twice to redial the last dialled number.

AUXILIARY MODE:

  Using a 3.5mm Jack cable you can connect any audio player that has this audio output. By connecting your player and your SPC ORBITAL GLOW using the 3.5mm Jack cable you can listen to the music stored on your music device.

  To switch between Bluetooth, SD, AUX and USB modes you must briefly press button 5 (M, Mode).

  You can use the same controls described for Bluetooth mode to control the volume, play, stop, fast forward or rewind a song.

  Some of these actions may not work depending on the APP or device the cable is connected to.

USB STORAGE MODE:

  If you insert a USB storage device (USB stick, external hard drive...) into your SPC ORBITAL GLOW, you can play your songs in MP3, WAV or OGG format.

  You can use the same controls described for Bluetooth mode to control the volume, play, stop, fast forward or rewind a song.

MICRO SD CARD MODE:

  If you insert a micro SD card into your SPC ORBITAL GLOW you can play your songs in MP3, WAV or OGG format.

  You can use the same controls described for Bluetooth mode to control the volume, play, stop, fast forward or rewind a song.

TWS CONNECTION:

  Your SPC ORBITAL GLOW supports TWS (True Wireless) connection, which allows two speakers to be linked together to play the same music. With this function you can, for example, provide an optimal music level in a larger or more crowded area.

The steps to activate this TWS mode are:

  1.     The speakers must be disconnected from any other device before TWS pairing.  
  2. Turn on both SPC ORBITAL GLOW speakers and keep them close.
  3.    

          Double-press the M (Mode) button simultaneously on both speakers. After successful pairing, you will hear a sound prompt.    

       

     

  4.     Now the speakers will connect to each other automatically each time you turn them on.  
  5.     Turn on Bluetooth on your device and select SPC ORBITAL GLOW from the list to pair with the speaker.  
  6.     After successful pairing, both speakers will play the same song.  
  7.     The control buttons can be used on either speaker. Adjusting the volume on one will adjust it on both simultaneously.  

  To unpair TWS mode, also double-press the M (Mode) button; the speakers will disconnect from each other.

Was this article helpful?

0 out of 0 found this helpful

Have more questions? Submit a request