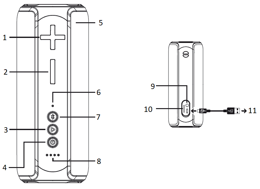
Komponenten und Bedienelemente

mceclip3.png

  1. hinzufügen: Drücken Sie, um die Lautstärke zu erhöhen. Für das nächste Lied gedrückt halten.
  2. entfernen: Drücken Sie, um die Lautstärke zu verringern. Zum vorherigen Lied gedrückt halten.
  3. play_arrow: Drücken, um die Wiedergabe zu starten oder anzuhalten
  4. power_settings_new: Taste zum Ein- und Ausschalten des Geräts.
  5. Mikrofon: Internes Mikrofon, aktiviert, wenn Sie sich während eines Telefongesprächs im Freisprechmodus befinden.
  6. BT-Anzeige: Wenn kein Gerät über BT angeschlossen ist, blinkt es weiß. Wenn ein Gerät angeschlossen ist oder SD- oder AUX-Musik abspielt, bleibt es leer.
  7. Bluetooth: Drücken Sie diese Taste, um den oberen Lichtring ein- oder auszuschalten. Halten Sie gedrückt, um das verbundene BT-Gerät zu entkoppeln.
  8. LED-Ladeanzeige: Mit angeschlossenem Kabel; Ein- und Ausladen
  9. AUX: Verwenden Sie das Standard-3,5-Audiokabel, um externe Audioquellen anzuschließen.
  10. Micro-SD-Steckplatz
  11. DC 5V: Schließen Sie das USB-Typ-C-Kabel an, um das Gerät aufzuladen.

 

mceclip1.png

mceclip2.png

 

War dieser Beitrag hilfreich?

8 von 11 fanden dies hilfreich

Haben Sie Fragen? Anfrage einreichen