Komponenten und Bedienelemente

mceclip2.pngmceclip4.png

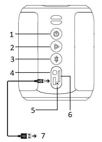
  1. power_settings_new: Taste zum Ein- und Ausschalten des Geräts.
  2. play_arrow: Drücken, um die Wiedergabe zu starten oder anzuhalten
  3. BluetoothDrücken Sie diese Taste, um den oberen Lichtring ein- oder auszuschalten. Halten Sie gedrückt, um das verbundene BT-Gerät zu entkoppeln.
  4. AUX: Verwenden Sie das Standard-3,5-Audiokabel, um externe Audioquellen anzuschließen.
  5. LED-Ladeanzeige: Mit angeschlossenem Kabel; Ein- und Ausladen
  6. Micro-SD-Steckplatz
  7. DC 5V: Schließen Sie das USB-Typ-C-Kabel an, um das Gerät aufzuladen.
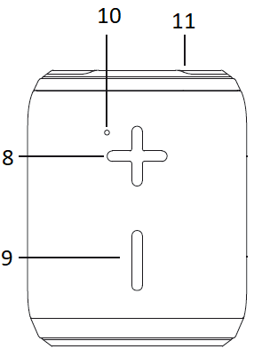
  8. hinzufügen: Drücken Sie, um die Lautstärke zu erhöhen. Für das nächste Lied gedrückt halten.
  9. entfernen: Drücken Sie, um die Lautstärke zu verringern. Zum vorherigen Lied gedrückt halten.
  10. Mikrofon: Internes Mikrofon, aktiviert, wenn Sie sich während eines Telefongesprächs im Freisprechmodus befinden.
  11. Leuchtring: Wenn kein Gerät über BT angeschlossen ist, blinkt es weiß. Wenn ein Gerät angeschlossen ist oder SD- oder AUX-Musik abspielt, ändert es Farbe und Intensität je nach Musik. Sie können es ausschalten, indem Sie die BT-Taste drücken

 

mceclip0.png

mceclip1.png

 

War dieser Beitrag hilfreich?

12 von 15 fanden dies hilfreich

Haben Sie Fragen? Anfrage einreichen