Modi und Verbindungen

BLUETOOTH-MODUS

WELCHE PROFILE UND KOMPATIBILITÄTEN HAT DEIN SPC ORBITAL GLOW?

  Dein SPC ORBITAL GLOW unterstützt Bluetooth-Version 5.3 mit den folgenden Profilen:

  - Erweitertes Audio-Verteilungsprofil (A2DP). Ermöglicht die Übertragung von Stereo-Audiosignalen.

  - Profile zur Steuerung von Befehlen und Kontrollen (AVRCP, AVCTP, AVDTP).

  - Freisprechprofil (HFP), für Telefoniefunktionen, Freisprechfunktion mit dem Lautsprecher.

  - TWS, ermöglicht die Verwendung von zwei Lautsprechern, die dasselbe Audiosignal wiedergeben.

ERSTE KOPPLUNG

  Über ein Musikwiedergabegerät mit Bluetooth-Verbindung (Smartphone, Tablet, MP3, MP4…) kannst du deine Musik auf deinem SPC ORBITAL GLOW hören.

  Um eine neue Verbindung über Bluetooth herzustellen, musst du den Lautsprecher einschalten und die Bluetooth-Verbindung an deinem Audioplayer aktivieren. Die LED-Anzeige des Lautsprechers blinkt blau und zeigt an, dass er zum Koppeln bereit ist. Du musst nach deinem SPC ORBITAL GLOW in der Liste der erkannten Bluetooth-Geräte im Bluetooth-Menü deines Audioplayers suchen. Nach der Auswahl deines SPC ORBITAL GLOW gibt der Lautsprecher einen Ton für die hergestellte Verbindung aus, und die Anzeige-LED hört auf zu blinken und leuchtet dauerhaft.

   mceclip1.png

WELCHE STEUERUNGEN VERWENDE ICH IM BLUETOOTH-MODUS?

  Die Wiedergabesteuerungen im Bluetooth-Modus sind die folgenden.

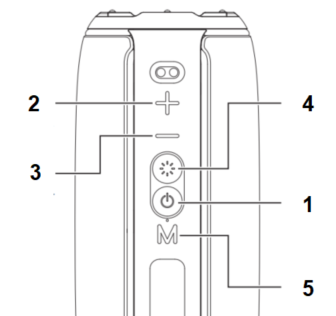
  2: Taste „+“. Drücke, um die Lautstärke zu erhöhen, und halte sie gedrückt für das nächste Lied.

  3: Taste „-“. Drücke, um die Lautstärke zu verringern, und halte sie gedrückt für das vorherige Lied.

  1: Play/Pause-Taste. Pausiert die Wiedergabe. Drücke sie erneut, um die Wiedergabe fortzusetzen.

FREISPRECHFUNKTION

  Wenn du ein Smartphone über Bluetooth mit deinem SPC ORBITAL GLOW verbindest, kannst du dank des eingebauten Mikrofons Anrufe annehmen/ablehnen.

  Drücke einmal die M-Taste (Modus), um den Anruf anzunehmen. Drücke sie erneut, um aufzulegen.

  Halte die M-Taste (Modus) zwei Sekunden lang gedrückt, um den eingehenden Anruf abzulehnen.

  Drücke die M-Taste (Modus) zweimal, um die zuletzt gewählte Nummer erneut anzurufen.

AUX-MODUS:

  Mit einem 3,5-mm-Klinkenkabel kannst du jeden Audioplayer anschließen, der über diesen Audioausgang verfügt. Indem du deinen Player und deinen SPC ORBITAL GLOW mit dem 3,5-mm-Klinkenkabel verbindest, kannst du die auf deinem Musikgerät gespeicherte Musik hören.

  Um zwischen den Modi Bluetooth, SD, AUX und USB umzuschalten, musst du kurz die Taste 5 (M, Modus) drücken.

  Du kannst dieselben Steuerelemente wie im Bluetooth-Modus verwenden, um die Lautstärke zu regeln, Lieder abzuspielen, zu stoppen, vor- oder zurückzuspulen.

  Einige dieser Aktionen funktionieren möglicherweise nicht, abhängig von der APP oder dem Gerät, an das das Kabel angeschlossen ist.

USB-SPEICHERMODUS:

  Wenn du ein USB-Speichergerät (USB-Stick, externe Festplatte...) in deinen SPC ORBITAL GLOW einsteckst, kannst du deine Lieder im MP3-, WAV- oder OGG-Format abspielen.

  Du kannst dieselben Steuerelemente wie im Bluetooth-Modus verwenden, um die Lautstärke zu regeln, Lieder abzuspielen, zu stoppen, vor- oder zurückzuspulen.

MICRO-SD-KARTENMODUS:

  Wenn du eine Micro-SD-Karte in deinen SPC ORBITAL GLOW einsteckst, kannst du deine Lieder im MP3-, WAV- oder OGG-Format abspielen.

  Du kannst dieselben Steuerelemente wie im Bluetooth-Modus verwenden, um die Lautstärke zu regeln, Lieder abzuspielen, zu stoppen, vor- oder zurückzuspulen.

TWS-VERBINDUNG:

  Dein SPC ORBITAL GLOW unterstützt die TWS-Verbindung (True Wireless), die es ermöglicht, zwei Lautsprecher miteinander zu verbinden, um dieselbe Musik abzuspielen. Mit dieser Funktion kannst du zum Beispiel einen optimalen Musikpegel in einem größeren oder belebteren Bereich bereitstellen.

Die Schritte zur Aktivierung dieses TWS-Modus sind:

  1.     Die Lautsprecher müssen vor der TWS-Kopplung von allen anderen Geräten getrennt sein.  
  2. Schalte die 2 SPC ORBITAL GLOW ein und halte sie nahe beieinander.
  3.    

          Drücke zweimal gleichzeitig an beiden Lautsprechern die M-Taste (Modus). Nach erfolgreicher Kopplung hörst du einen Signalton.    

       

     

  4.     Jetzt verbinden sich die Lautsprecher jedes Mal automatisch miteinander, wenn du sie einschaltest.  
  5.     Schalte das Bluetooth auf deinem Gerät ein und wähle SPC ORBITAL GLOW aus der Liste, um es mit dem Lautsprecher zu koppeln.  
  6.     Nach erfolgreicher Kopplung spielen beide Lautsprecher dasselbe Lied ab.  
  7.     Die Steuertasten können an beiden Lautsprechern verwendet werden. Wenn du die Lautstärke an einem einstellst, wird sie an beiden gleichzeitig angepasst.  

  Um den TWS-Modus zu entkoppeln, drücke ebenfalls zweimal die M-Taste (Modus), die Lautsprecher trennen sich voneinander.

War dieser Beitrag hilfreich?

0 von 0 fanden dies hilfreich

Haben Sie Fragen? Anfrage einreichen