Standort der Kontrollen

1. Kopfhörer.

2. Mikrofon.

3. Lockiges Kabelgehäuse im Mobilteil.

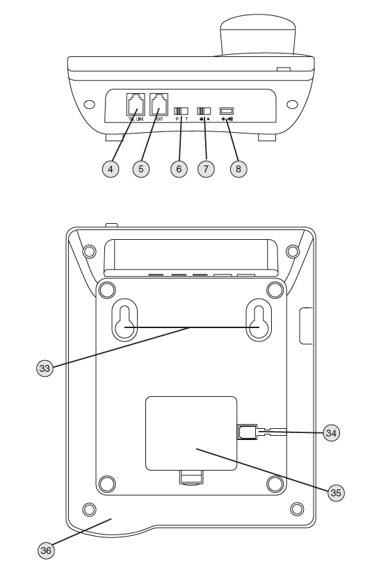
5. Gehäuse für Hauptleitungskabel, TEL. LINIE.

5. Gehäuse für Verlängerungskabel oder Zusatzklemme, EXT.

6. Tonwahl (Mehrfrequenzwahl) oder Impulswahl (dekadisch), Q / T.

7. Ruftonlautstärke

8. Freisprechlautstärke,

9. Haltelasche des Mobilteils.  

10. Haken.

11. Stück zur Wandmontage.

12. Sprecher.

13. Karton für Telefonnummer.

14. Bildschirm.

15. Schlüssel SPEISEKARTE. Speisekarte.

16. Schlüssel VIP/Q. VIP und Pause.

17. ▲-Taste. Liste der beantworteten Anrufe. Navigieren, Hochladen, Erhöhen.

18. Schlüssel  . Liste der getätigten Anrufe.

19. Schlüssel . Ruf zurück.

20. ▼-Taste. Liste verpasster Anrufe. Navigation, nach unten gehen, verringern.

21. Schlüssel M1, M2, M3 Und M4. Direkte Erinnerungen.

22. Ziffernblock.

23. Schlüssel  . Löschen / Beenden.

24. Schlüssel : Mikrofon stummgeschaltet.

25. Schlüssel . Shop und Menü.

26. Schlüssel M. Erinnerung.

27. Kontrollleuchte „In Betrieb“.

28. Ringlichtanzeige.

29. Schlüssel . Wählen Sie die Melodie aus.

30. Schlüssel R. Rufen Sie den Standesbeamten zurück.

31. Schlüssel  . Wahlwiederholung.

32. Schlüssel . Freie Hände.

29. Schraubgehäuse zur Wandmontage.

4. Lockiges Kabelgehäuse im Sockel,.

35. Batteriefach.

36. Freisprechmikrofon.

War dieser Beitrag hilfreich?

6 von 8 fanden dies hilfreich

Haben Sie Fragen? Anfrage einreichen